在目前的汽車碰撞試驗中,待檢車輛需要進行試驗前的預處理,即將汽車保持在一定溫度下放置一定的時間,即“汽車碰撞移動保溫間”。汽車試驗前的預處理過程中溫度控制是十分重要的。下面分享“環儀儀器”的汽車碰撞移動保溫間技術方案,供大家作為選型參考。
方案名稱:汽車碰撞移動保溫間
方案設計:環儀儀器
設備型號:HYTW-113S
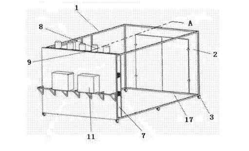
1.汽車碰撞移動保溫間,包括帶有腳輪的框架和位于框架四周及頂部的棚體,還包括可供試驗車輛通過的正門、調節棚內溫度的空調系統和操控箱。
2.空調系統包括由隔板和部分棚體構成的換氣室、通過支架安裝在換氣室頂端的風機、設在換氣室內的加熱器以及與換氣室相連通的制冷機,隔板上部設有與風機相對應的回風口、下部設有出風口。
3.在側面棚體上設有供人員通行的側門。在側面棚體上設有用于觀察棚內試驗情況的觀察窗。在隔板上設有用于測量棚內溫度的溫度傳感器。正門下方設有可拆卸的底梁。在下部框架與地面之間還設有固定在框架上起密封作用的軟質封邊。
方案特點:
具有能耗低、控制快捷有效且安全方便的優點,還具有結構簡單,使用成本低的優點。
方案設計圖:

.png)
.png)
以上是汽車碰撞移動保溫間設計的一個大概,分享了設計的主體思路,在具體設計中,還有很多可以提升設計的空間,環儀儀器會根據此設計思路,進行相對應的優化設計。








